Оригинальные каталоги
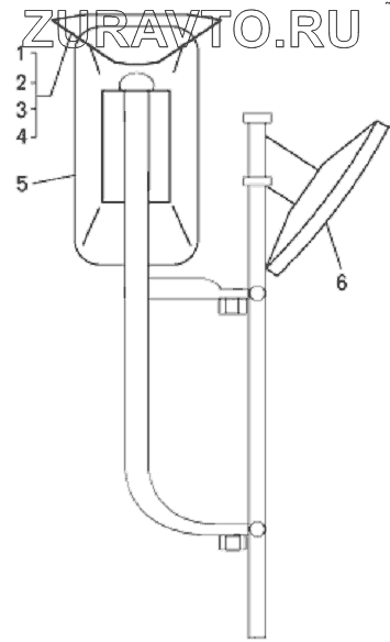
| № | Номер | Наименование | Цена | |
|---|---|---|---|---|
| 1 | 75131-8201132-10 | Кронштейн | Нет в продаже |
|
| 2 | 78211-6816042 | Фиксатор | Нет в продаже |
|
| 3 | 250508 | Гайка | Нет в продаже |
|
| 4 | 252134 | Шайба | Нет в продаже |
|
| 5 | ВРЕИ203.621.008 | Зеркало | Нет в продаже |
|
| 6 | ВРЕИ203.621.009 | Зеркало | Нет в продаже |
|
1
2
3
4
5
6
Содержащиеся в справочниках-каталогах запасные части и детали носят исключительно информационный характер