Оригинальные каталоги
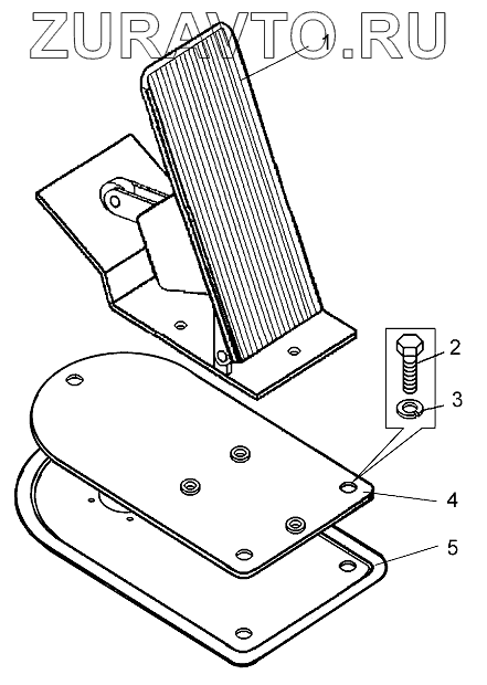
| № | Номер | Наименование | Цена | |
|---|---|---|---|---|
| 1 | WM526-350827 | Электронная педаль | Нет в продаже |
|
| 2 | 201454 | Болт | Нет в продаже |
|
| 3 | 252135 | Шайба | Нет в продаже |
|
| 4 | 7513-2108260-02 | Кронштейн | Нет в продаже |
|
| 5 | 75131-5109071 | Кронштейн | Нет в продаже |
|
1
1
2
2
3
3
4
5
5
5
Содержащиеся в справочниках-каталогах запасные части и детали носят исключительно информационный характер