Оригинальные каталоги
| № | Номер | Наименование | Цена | |
|---|---|---|---|---|
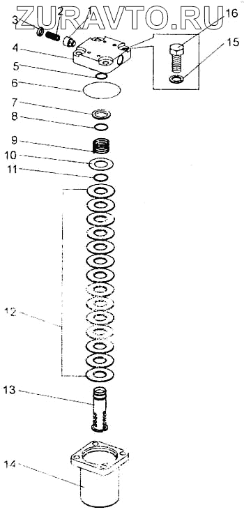
| 1 | 7512-3408332 | Клапан | Нет в продаже |
|
| 2 | 549А-3514265 | Пружина | Нет в продаже |
|
| 3 | 7512-3408339 | Упор | Нет в продаже |
|
| 4 | 7555В-3442016 | Крышка | Нет в продаже |
|
| 5 | 035-040-30-2-2 | Кольцо | Нет в продаже |
|
| 6 | 104-110-36-2-2 | Кольцо | Нет в продаже |
|
| 7 | 7555-3442018 | Упор | Нет в продаже |
|
| 8 | 540-1704145 | Кольцо | Нет в продаже |
|
| 9 | 549А-3501064 | Пружина | Нет в продаже |
|
| 10 | 540-1704139 | Шайба | Нет в продаже |
|
| 11 | 044-050-36-2-2 | Кольцо | Нет в продаже |
|
| 12 | 7555-1716110 | Фильтроэлемент | Нет в продаже |
|
| 13 | 7555-3442030 | Шток | Нет в продаже |
|
| 14 | 7555-3442020 | Корпус | Нет в продаже |
|
| 15 | 252140 | Шайба | Нет в продаже |
|
| 16 | 202172 | Болт | Нет в продаже |
|
1
2
3
4
5
6
7
8
9
10
11
12
13
14
15
16
Содержащиеся в справочниках-каталогах запасные части и детали носят исключительно информационный характер