Оригинальные каталоги
| № | Номер | Наименование | Цена | |
|---|---|---|---|---|
| Q41908 | Q41908 | Волнистая шайба | Нет в продаже |
|
| Q340В06-6 | Q340В06-6 | Гайка | Нет в продаже |
|
| Q340В08-6 | Q340В08-6 | Гайка | Нет в продаже |
|
| Q350В10 | Q350В10 | Гайка шестигранная низкая | Нет в продаже |
|
| Q350В10 | Q350В10 | Гайка шестигранная низкая | Нет в продаже |
|
| 3405МВ-021 | 3405МВ-021 | Крестовина | Нет в продаже |
|
| Q40408 | Q40408 | Легкая пружинная шайба | Нет в продаже |
|
| Q40408 | Q40408 | Легкая пружинная шайба | Нет в продаже |
|
| Q40408 | Q40408 | Легкая пружинная шайба | Нет в продаже |
|
| Q701В90 | Q701В90 | Масленка | Нет в продаже |
|
| Q33512-6 | Q33512-6 | Гайка | Нет в продаже |
|
| Q341В12 | Q341В12 | Гайка | Нет в продаже |
|
| Q341В10 | Q341В10 | Гайка | Нет в продаже |
|
| Q41908 | Q41908 | Волнистая шайба | Нет в продаже |
|
| Q33410 | Q33410 | Гайка | Нет в продаже |
|
| Q33410 | Q33410 | Гайка | Нет в продаже |
|
| Q33410 | Q33410 | Гайка | Нет в продаже |
|
| Q33510 | Q33510 | Гайка | Нет в продаже |
|
| Q33510 | Q33510 | Гайка | Нет в продаже |
|
| Q340В08 | Q340В08 | Гайка | Нет в продаже |
|
| Q340В08 | Q340В08 | Гайка | Нет в продаже |
|
| Q340В08 | Q340В08 | Гайка | Нет в продаже |
|
| 17V65-03001 | 17V65-03001 | Механизм управления переключением передач | Нет в продаже |
|
| 17N-03032 | 17N-03032 | Опора с втулкой в сборе | Нет в продаже |
|
| Q40312 | Q40312 | Пружинная шайба | Нет в продаже |
|
| Q40308 | Q40308 | Пружинная шайба | Нет в продаже |
|
| 17V65-03025 | 17V65-03025 | Рычаг переключения передач с опорой | Нет в продаже |
|
| 17В1-03116 | 17В1-03116 | Скоба | Нет в продаже |
|
| 17V65-03152 | 17V65-03152 | Соединительная пластина | Нет в продаже |
|
| 17N-03036 | 17N-03036 | Сферическая втулка в сборе | Нет в продаже |
|
| 17V66А-03270 | 17V66А-03270 | Сферическая опора в сборе | Нет в продаже |
|
| RQ42306 | RQ42306 | Тарельчатая пружинная шайба | Нет в продаже |
|
| RQ42308 | RQ42308 | Тарельчатая пружинная шайба | Нет в продаже |
|
| Q40310 | Q40310 | Пружинная шайба | Нет в продаже |
|
| Q40310 | Q40310 | Пружинная шайба | Нет в продаже |
|
| Q40310 | Q40310 | Пружинная шайба | Нет в продаже |
|
| 17N-03030 | 17N-03030 | Опора с пыльником в сборе | Нет в продаже |
|
| 17В1-03118 | 17В1-03118 | Пластина | Нет в продаже |
|
| Q40110 | Q40110 | Шайба | Нет в продаже |
|
| Q40110 | Q40110 | Шайба | Нет в продаже |
|
| Q40110 | Q40110 | Шайба | Нет в продаже |
|
| Q40108 | Q40108 | Q40108 - кольцо уплотнительное Q40108 | Нет в продаже |
|
| Q40108 | Q40108 | Q40108 - кольцо уплотнительное Q40108 | Нет в продаже |
|
| Q40108 | Q40108 | Q40108 - кольцо уплотнительное Q40108 | Нет в продаже |
|
| 3405МВ-025 | 3405МВ-025 | Подшипник крестовины в сборе | Нет в продаже |
|
| RQ42410 | RQ42410 | Тарельчатая пружинная шайба | Нет в продаже |
|
| 17V65-03280 | 17V65-03280 | Вал привода механизма переключения передач | Нет в продаже |
|
| Q150В0830-5 | Q150В0830-5 | Болт | Нет в продаже |
|
| Q40310 | Q40310 | Пружинная шайба | Нет в продаже |
|
| Q150В0820 | Q150В0820 | Болт | Нет в продаже |
|
| Q150В0830 | Q150В0830 | Болт | Нет в продаже |
|
| Q150В0830 | Q150В0830 | Болт | Нет в продаже |
|
| Q150В0825 | Q150В0825 | Болт | Нет в продаже |
|
| Q150В0825 | Q150В0825 | Болт | Нет в продаже |
|
| Q150В0816 | Q150В0816 | Болт | Нет в продаже |
|
| Q150В0816 | Q150В0816 | Болт | Нет в продаже |
|
| Q150В1020 | Q150В1020 | Болт | Нет в продаже |
|
| Q150В1025 | Q150В1025 | Болт | Нет в продаже |
|
| Q150В1025 | Q150В1025 | Болт | Нет в продаже |
|
| Q151В1025 | Q151В1025 | Болт | Нет в продаже |
|
| Q151В1235 | Q151В1235 | Болт | Нет в продаже |
|
| Q151В1045 | Q151В1045 | Болт | Нет в продаже |
|
| Q150В0620-5 | Q150В0620-5 | Болт | Нет в продаже |
|
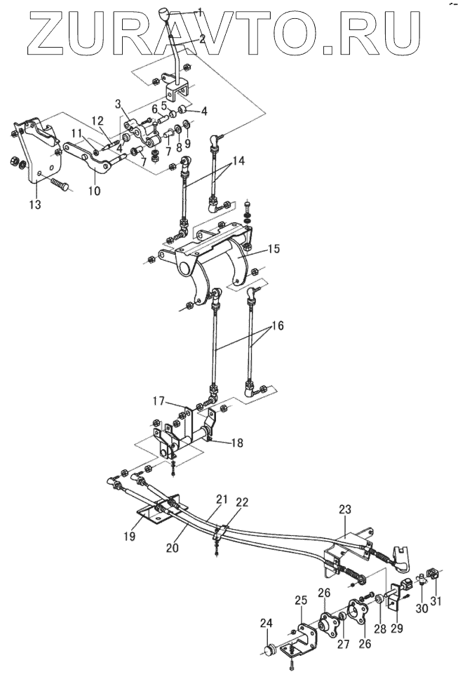
| 1 | 17V65-03080 | Рукоятка рычага переключения передач | Нет в продаже |
|
| 2 | 17V65-03026 | Рычаг переключения передач | Нет в продаже |
|
| 3 | 17N-03035 | Опора | Нет в продаже |
|
| 4 | 17N-03038 | Пыльник | Нет в продаже |
|
| 5 | 17N-03037 | Сферическая втулка | Нет в продаже |
|
| 6 | 17N-03039 | Втулка | Нет в продаже |
|
| 7 | 17N-03031 | Втулка | Нет в продаже |
|
| 8 | 17N-03233 | Шайба | Нет в продаже |
|
| 9 | Q43615 | Разрезное кольцо | Нет в продаже |
|
| 10 | 17В1-03040 | Рычаг выбора передач с валом в сборе | Нет в продаже |
|
| 11 | 17N-03044 | Чашка | Нет в продаже |
|
| 12 | 17N-03034 | Шаровой болт | Нет в продаже |
|
| 13 | 17V65-03045 | Кронштейн | Нет в продаже |
|
| 14 | 17V65-03110 | Тяга в сборе | Нет в продаже |
|
| 15 | 17V65-03050 | Кронштейн в сборе | Нет в продаже |
|
| 16 | 17V65-03140-А | Тяга в сборе | Нет в продаже |
|
| 17 | 17V65-03160 | Рычаг с опорой в сборе | Нет в продаже |
|
| 18 | 17V65-03151 | Соединительная пластина | Нет в продаже |
|
| 19 | 17V65-03295 | Кронштейн гибкого вала | Нет в продаже |
|
| 20 | 17V65-03060 | Гибкий вал переключения передач | Нет в продаже |
|
| 21 | 17V65-03070 | Гибкий вал выбора передач | Нет в продаже |
|
| 22 | 17V65-03117 | Кронштейн крепления гибких валов | Нет в продаже |
|
| 23 | 17V66А-03292 | Кронштейн крепления гибких валов | Нет в продаже |
|
| 24 | 17N-03272 | Пыльник | Нет в продаже |
|
| 25 | 17V66А-03271 | Пластина крепления сферической опоры | Нет в продаже |
|
| 26 | 17N-03276 | Сферическая опора | Нет в продаже |
|
| 27 | 17N-03277 | Сферическая втулка | Нет в продаже |
|
| 28 | 17N-03273 | Пыльник | Нет в продаже |
|
| 29 | 17V65-03285 | Вилка | Нет в продаже |
|
| 30 | 3405МВ-030 | Крестовина с подшипником в сборе | Нет в продаже |
|
| 31 | 17N-03281 | Вилка | Нет в продаже |
|
1
2
3
4
5
6
7
7
8
9
10
11
12
13
14
15
16
17
18
19
20
21
22
23
24
25
26
26
27
28
29
30
31
Содержащиеся в справочниках-каталогах запасные части и детали носят исключительно информационный характер