Назад

Оригинальные каталоги

zoom-in zoom-out enlarge shrink circle-right circle-left file-text2 info cart
Номер Наименование Цена
1017015-29DM 1017015-29DM Фильтр центробежный масляный Нет в продаже
1017012-29DM 1017012-29DM Уплотнительное кольцо центробежного фильтра Нет в продаже
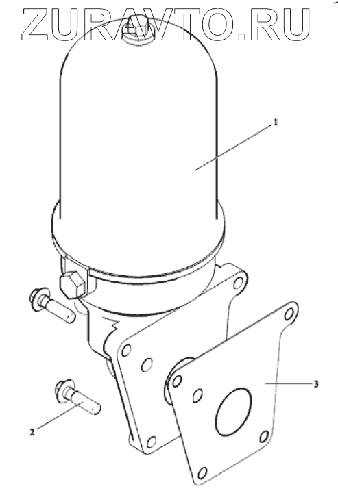
1 1017010BM50-0000 Фильтр масляный центробежный с кронштейном Нет в продаже
2 Q1840840F36 Фланцевый болт с шестигранной головкой Нет в продаже
3 1017022-81D Прокладка центробежного масляного фильтра Нет в продаже
1
2
3
100%
Содержащиеся в справочниках-каталогах запасные части и детали носят исключительно информационный характер