Назад

Оригинальные каталоги

zoom-in zoom-out enlarge shrink circle-right circle-left file-text2 info cart
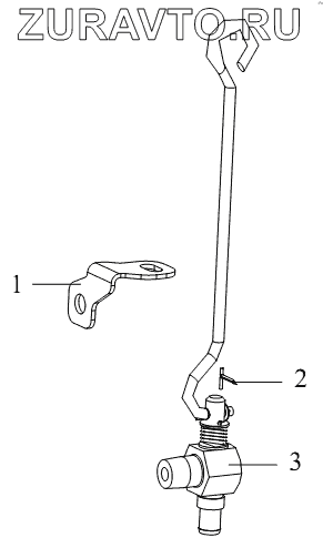
Номер Наименование Цена
1 1305031-53D Стойка рукоятки - сливной кран Нет в продаже
2 Q5002016 Шплинт Нет в продаже
3 1305010-53D Сливной кран в сборе Нет в продаже
1
1
2
2
3
3
100%
Содержащиеся в справочниках-каталогах запасные части и детали носят исключительно информационный характер