Назад

Оригинальные каталоги

zoom-in zoom-out enlarge shrink circle-right circle-left file-text2 info cart
Номер Наименование Цена
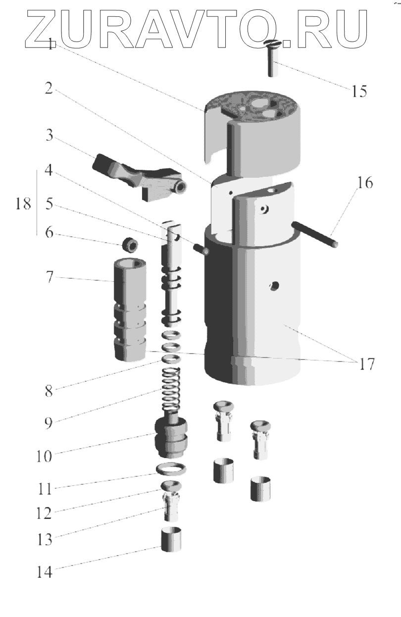
6430-1703800 6430-1703800 Переключатель в сборе Нет в продаже
1 64221-1703818 Накладка Нет в продаже
2 6430-1703804 Корпус Нет в продаже
3 64221-1703816 Рычаг Нет в продаже
4 64221-1703814 Ось ролика Нет в продаже
5 64221-1703810 Золотник Нет в продаже
6 64221-1703812 Ролик Нет в продаже
7 64221-1703806 Корпус золотника Нет в продаже
8 64221-1703830 Кольцо Нет в продаже
9 64221-1703822 Пружина Нет в продаже
10 6430-1703826 Пробка Нет в продаже
11 009-012-19-2-3 Кольцо Нет в продаже
12 004-008-25-2-2 Кольцо Нет в продаже
13 6430-1703446 Цанга Нет в продаже
14 6430-1703450 Фиксатор Нет в продаже
15 231553 Винт 2М4-6gх14 Нет в продаже
16 64221-1703824 Ось рычага Нет в продаже
17 6430-1703802 Корпус в сборе Нет в продаже
18 64221-1703808 Золотник в сборе Нет в продаже
6430-1703800
1
2
3
4
5
6
7
8
9
10
11
12
13
14
15
16
17
18
100%
Содержащиеся в справочниках-каталогах запасные части и детали носят исключительно информационный характер