Оригинальные каталоги
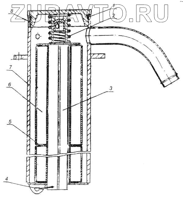
| № | Номер | Наименование | Цена | |
|---|---|---|---|---|
| 262542 | 262542 | Пробка | Нет в продаже |
|
| 7505-3410080 | 7505-3410080 | Фильтр | Нет в продаже |
|
| 1 | 110-120-58-2-2 | Кольцо | Нет в продаже |
|
| 2 | 7406-4612050 | Пружина | Нет в продаже |
|
| 3 | 7405-3410084 | Направляющая | Нет в продаже |
|
| 4 | 258278 | Шплинт | Нет в продаже |
|
| 5 | 546-3519168 | Грязесъемник | Нет в продаже |
|
| 6 | Элемент фильтра | Элемент фильтра | Нет в продаже |
|
| 7 | 7505-3410082 | Корпус фильтра | Нет в продаже |
|
| 8 | 7405-3410086 | Крышка | Нет в продаже |
|
7505-3410080
1
2
3
4
5
6
7
8
Содержащиеся в справочниках-каталогах запасные части и детали носят исключительно информационный характер