Назад

Оригинальные каталоги

zoom-in zoom-out enlarge shrink circle-right circle-left file-text2 info cart
Номер Наименование Цена
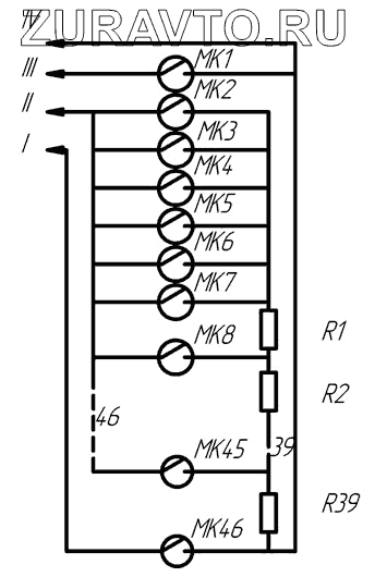
МК1- МК46 МК1- МК46 Контакт магнитоуправляемый герметизированный Нет в продаже
R1,R2, R39 R1,R2, R39 Резистор Нет в продаже
МК1- МК46
МК1- МК46
МК1- МК46
МК1- МК46
МК1- МК46
МК1- МК46
МК1- МК46
МК1- МК46
МК1- МК46
МК1- МК46
R1,R2, R39
R1,R2, R39
R1,R2, R39
100%
Содержащиеся в справочниках-каталогах запасные части и детали носят исключительно информационный характер