Оригинальные каталоги
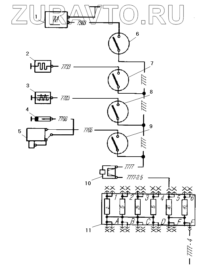
| № | Номер | Наименование | Цена | |
|---|---|---|---|---|
| 1 | МЭ252 | Электродвигатель | Нет в продаже |
|
| 2 | 11.3741060 | Нагреватель топлива | Нет в продаже |
|
| 3 | ПЖД30-1015501-04 | Электромагнит с клапаном в сборе | Нет в продаже |
|
| 4 | СН423 | Свеча искровая | Нет в продаже |
|
| 5 | ТК107А | Источник высокого напряжения | Нет в продаже |
|
| 6 | 46.3710 | Выключатель электродвигателя подогревателя | Нет в продаже |
|
| 7 | 46.3710 | Выключатель электродвигателя подогревателя | Нет в продаже |
|
| 8 | ВН45М | Выключатель клапана электромагнитного | Нет в продаже |
|
| 9 | ВН45М | Выключатель клапана электромагнитного | Нет в продаже |
|
| 10 | 291.3722 | Предохранитель термобиметаллический | Нет в продаже |
|
| 11 | 98470772 | Блок предохранителей | Нет в продаже |
|
1
2
3
4
5
6
7
8
9
10
11
Содержащиеся в справочниках-каталогах запасные части и детали носят исключительно информационный характер