Оригинальные каталоги
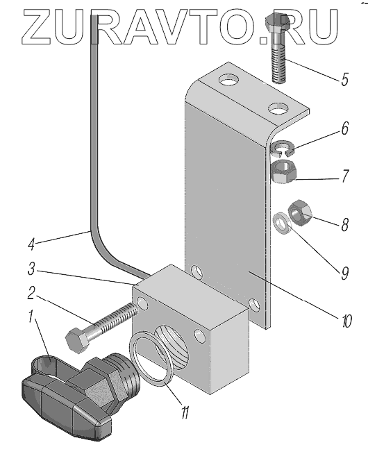
| № | Номер | Наименование | Цена | |
|---|---|---|---|---|
| 1 | 100-3515310-01 | Клапан контрольного вывода | Нет в продаже |
|
| 2 | 205397-П29 | Болт М6-6gх45 | Нет в продаже |
|
| 3 | 6363-3506008 | Переходник | Нет в продаже |
|
| 4 | 6370-3506320 | Трубка к буксирному клапану | Нет в продаже |
|
| 5 | 201457-П29 | Болт М8-6gх22 | Нет в продаже |
|
| 6 | 252135-П2 | Шайба 8 пружинная | Нет в продаже |
|
| 7 | 250510-П29 | Гайка М8-6Н | Нет в продаже |
|
| 8 | 250508-П29 | Гайка М6-6Н | Нет в продаже |
|
| 9 | 252134-П2 | Шайба 6 пружинная | Нет в продаже |
|
| 10 | 6363-3506007 | Кронштейн | Нет в продаже |
|
| 11 | 4320-3514023 | Прокладка | Нет в продаже |
|
1
2
3
4
5
6
7
8
9
10
11
Содержащиеся в справочниках-каталогах запасные части и детали носят исключительно информационный характер