Назад

Оригинальные каталоги

zoom-in zoom-out enlarge shrink circle-right circle-left file-text2 info cart
Номер Наименование Цена
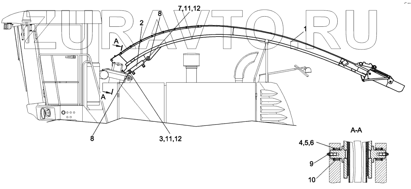
КСК-6025-0169000 КСК-6025-0169000 Установка силосопровода Нет в продаже
1 КСК-6025-0169010 Силосопровод Нет в продаже
2 КВК0602510А Гидроцилиндр подъема силосопровода Нет в продаже
3 КВК0100629 Палец Нет в продаже
4 КВС-1-0100442 Кольцо Нет в продаже
5 КВС-1-0100442-01 Кольцо Нет в продаже
6 КВС-1-0100442-02 Кольцо Нет в продаже
7 КИС0105614Б Ось Нет в продаже
8 КЗР0202825-07 Втулка Нет в продаже
9 1.2.-19853 Масленка 1.2.-19853 Нет в продаже
10 ШСП30-3635 Подшипник ШСП30-3635 Нет в продаже
11 Шайба25.01-9646 Шайба 25.01-9646 Нет в продаже
12 Шплинт6,3x45-397 Шплинт 6,3Х45-397 Нет в продаже
1
2
3
4
5
6
7
8
8
9
10
11
11
12
12
100%
Содержащиеся в справочниках-каталогах запасные части и детали носят исключительно информационный характер