Оригинальные каталоги
| № | Номер | Наименование | Цена | |
|---|---|---|---|---|
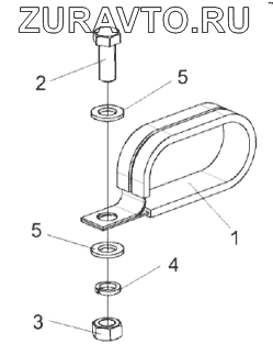
| КЗК-1420-0113070 | КЗК-1420-0113070 | Установка хомута | Нет в продаже |
|
| 1 | УЭС-7-0203150А | Скоба | Нет в продаже |
|
| 2 | БолтМ8-6eх20-7796 | Болт М8-6eх20-7796 | Нет в продаже |
|
| 3 | ГайкаМ8-6G-5915 | Гайка М8-6G-5915 | Нет в продаже |
|
| 4 | Шайба8Т65Г-6402 | Шайба 8Т.65Г-6402 | Нет в продаже |
|
| 5 | ШайбаC.8.01-11371 | Шайба C.8.01-11371 | Нет в продаже |
|
1
2
3
4
5
5
Содержащиеся в справочниках-каталогах запасные части и детали носят исключительно информационный характер