Оригинальные каталоги
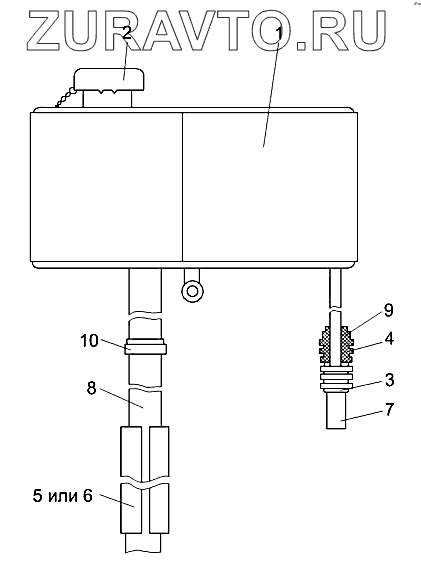
| № | Номер | Наименование | Цена | |
|---|---|---|---|---|
| УЭС-6-0400090 | УЭС-6-0400090 | Бачок расширительный | Нет в продаже |
|
| 1 | УЭС-6-0400100 | Бачок расширительный | Нет в продаже |
|
| 2 | УЭС-4-0400840 | Пробка | Нет в продаже |
|
| 3 | УЭС-6-0400008 | Уплотнение | Нет в продаже |
|
| 4 | УЭС-3-0400006 | Дроссель | Нет в продаже |
|
| 5 | УЭС-7-0400021 | Уплотнение | Нет в продаже |
|
| 6 | УЭС-7-0400021-01 | Уплотнение | Нет в продаже |
|
| 7 | КЗК-10-0126004 | Рукав | Нет в продаже |
|
| 8 | КВС-1-0602013-04 | Рукав | Нет в продаже |
|
| 9 | TORRO16-27/9CGW2 | Хомут | Нет в продаже |
|
| 10 | TORRO25-40/9CGW2 | Хомут | Нет в продаже |
|
1
2
3
4
5
6
7
8
9
10
Содержащиеся в справочниках-каталогах запасные части и детали носят исключительно информационный характер