Назад

Оригинальные каталоги

zoom-in zoom-out enlarge shrink circle-right circle-left file-text2 info cart
Номер Наименование Цена
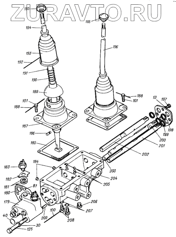
13 Шайба10ОТ65Г096 Шайба 10ОТ 65Г 096 ГОСТ 6402-70 Нет в продаже
30 Шайба1265Г096 Шайба 12 65Г 096 ГОСТ 6402-70 Нет в продаже
40 Т4.37А.235 Заглушка Нет в продаже
81 ШарикБ13,494-100 Шарик Б13,494-100 ГОСТ 3722-81 Нет в продаже
100 Проволока1,6-0-1Ц Проволока 1,6-0-1Ц ГОСТ 3282-74 Нет в продаже
179 Т4.37А.245 Корпус включателей Нет в продаже
180 Т4.37А.246 Прокладка Нет в продаже
181 Т4.37А174 Прокладка регулировочная Нет в продаже
182 Т4.37А.249 Шайба замковая Нет в продаже
183 ВК418 Включатель ВК418 ТУ 37.003.188-76 Нет в продаже
184 Пробка4-КГ1/8dmА12.016 Пробка 4-КГ1/8dmА12.016 ОСТ 23.1.117-83 Нет в продаже
185 Т4.37.189 Прокладка Нет в продаже
186 А37-65 Штифт Нет в продаже
187 МТ4.37.102 Колонка Нет в продаже
188 Проволока1,6-0-1Ц Проволока 1,6-0-1Ц ГОСТ 3282-74 Нет в продаже
189 А37-63 Колпачок Нет в продаже
190 54.37.462 Пружина Нет в продаже
191 04.37.340 Кольцо упорное Нет в продаже
192 Проволока1,6-0-1Ц Проволока 1,6-0-1Ц ГОСТ 3282-74 Нет в продаже
193 05.37.151 Чехол Нет в продаже
194 МТ4.37.029 Рычаг переключения реверс-редуктора Нет в продаже
195 А13.04.010 Рукоятка Нет в продаже
196 МТ4.37.028 Рычаг переключения передач Нет в продаже
197 БолтМ10-6gх25.88.016 Болт М10-6gх25.88.016 ГОСТ 7796-70 Нет в продаже
198 Т4.37.185 Крышка задняя Нет в продаже
199 Кольцо020-025-30-2-2 Кольцо 020-025-30-2-2 ГОСТ 18829-73 Нет в продаже
200 МТ4.37.113 Ползун переключения реверса Нет в продаже
201 Т4.37.112 Ползун переключения первой и второй передач Нет в продаже
202 МТ4.37.150 Ползун переключения редуктора Нет в продаже
203 Т4.37.149 Ползун переключения третьей и четвертой передач Нет в продаже
204 Т4.37А.101-3 Корпус колонок Нет в продаже
205 ШарикБ7,938-200 Шарик Б7, 938-200 ГОСТ 3722-81 Нет в продаже
206 ПробкаКГ3/8dmА12.016 Пробка КГ3/8dmА12.016 ОСТ 23.1.117-83 Нет в продаже
207 Кольцо009-013-25-2-2 Кольцо 009-013-25-2-2 ГОСТ 18829-73 Нет в продаже
208 Т4.37.165 Винт специальный Нет в продаже
209 Штифт8h8х25 Штифт 8h8х25 ГОСТ 3128-70 Нет в продаже
13
30
40
81
100
179
180
181
182
183
184
185
186
187
188
188
189
190
191
192
193
194
195
195
196
197
198
199
200
201
202
203
204
205
206
207
208
209
100%
Содержащиеся в справочниках-каталогах запасные части и детали носят исключительно информационный характер