Оригинальные каталоги
| № | Номер | Наименование | Цена | |
|---|---|---|---|---|
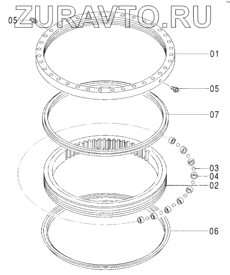
| 9169646 | 9169646 | BRG., SWINGCIRCL | Нет в продаже |
|
| 1 | RACE | RACE | Нет в продаже |
|
| 2 | RACE | RACE | Нет в продаже |
|
| 3 | 4428919 | BALL | Нет в продаже |
|
| 4 | 4127708 | SUPPORT | Нет в продаже |
|
| 5 | J75481 | FITTING, GREASE | Нет в продаже |
|
| 6 | 4188065 | SEAL | Нет в продаже |
|
| 7 | 4188066 | SEAL | Нет в продаже |
|
9169646
1
2
3
4
5
5
6
7
Содержащиеся в справочниках-каталогах запасные части и детали носят исключительно информационный характер