Оригинальные каталоги
| № | Номер | Наименование | Цена | |
|---|---|---|---|---|
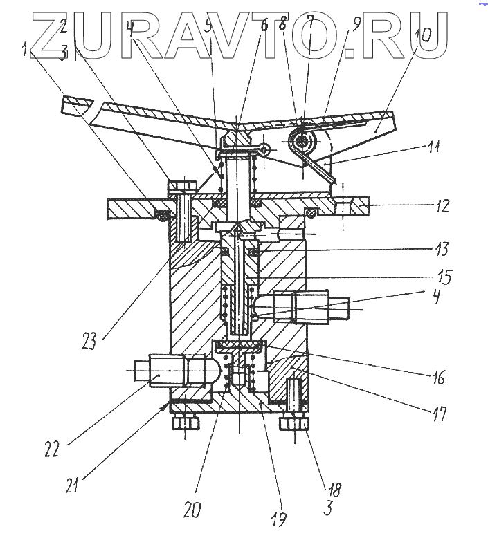
| 7427-1712550 | 7427-1712550 | Кран управления | Нет в продаже |
|
| 1 | 060-070-58 | Кольцо | Нет в продаже |
|
| 2 | 201422-П29 | Болт М6-6gх25 | Нет в продаже |
|
| 3 | 252154-П2 | Шайба 6Л | Нет в продаже |
|
| 4 | 7427-1804336 | Пружина | Нет в продаже |
|
| 5 | 258039-П2 | Шплинт 3,2х20 | Нет в продаже |
|
| 6 | 252007-П29 | Шайба 12 | Нет в продаже |
|
| 7 | 258038-П29 | Шплинт 3,2х16 | Нет в продаже |
|
| 8 | 260048-П18С | Палец 8х70 | Нет в продаже |
|
| 9 | 7426-1712572 | Пружина | Нет в продаже |
|
| 10 | 7427-1712576 | Педаль | Нет в продаже |
|
| 11 | 7427-1712574 | Кронштейн | Нет в продаже |
|
| 12 | 7427-1712554 | Крышка верхняя | Нет в продаже |
|
| 13 | 012-016-25 | Кольцо уплотнительное | Нет в продаже |
|
| 15 | 7426-1712560 | Толкатель | Нет в продаже |
|
| 16 | 7427-1804332 | Седло | Нет в продаже |
|
| 17 | 7426-1712552 | Корпус | Нет в продаже |
|
| 18 | 201420-П29 | Болт М6-6gх20 | Нет в продаже |
|
| 19 | 7426-1712556 | Крышка нижняя | Нет в продаже |
|
| 20 | 537-2402416 | Пружина нагнетающего клапана | Нет в продаже |
|
| 21 | 7426-1712558 | Прокладка | Нет в продаже |
|
| 22 | 538ДП-3505206 | Пробка транспортная | Нет в продаже |
|
| 23 | 7426-1712562 | Кольцо | Нет в продаже |
|
1
2
2
3
4
4
5
6
7
8
9
10
11
12
13
15
16
17
18
19
20
21
22
23
Содержащиеся в справочниках-каталогах запасные части и детали носят исключительно информационный характер