Назад

Оригинальные каталоги

zoom-in zoom-out enlarge shrink circle-right circle-left file-text2 info cart
Номер Наименование Цена
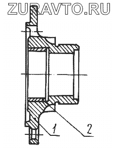
538Д-2303016-10 538Д-2303016-10 Крышка дифференциала Нет в продаже
1 538Д-2303018-10 Крышка дифференциала Нет в продаже
2 537-2506080 Втулка Нет в продаже
1
2
100%
Содержащиеся в справочниках-каталогах запасные части и детали носят исключительно информационный характер