Оригинальные каталоги
| № | Номер | Наименование | Цена | |
|---|---|---|---|---|
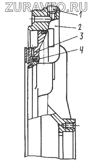
| 7428-1710150 | 7428-1710150 | Крышка задняя | Нет в продаже |
|
| 1 | 537-3505160-01 | Пробка К 3/8" | Нет в продаже |
|
| 2 | 535А-1510156-21 | Крышка задняя | Нет в продаже |
|
| 3 | 7428-1711180 | Поршень фрикциона | Нет в продаже |
|
| 4 | Д4102.5084 | Прокладка | Нет в продаже |
|
1
2
3
4
Содержащиеся в справочниках-каталогах запасные части и детали носят исключительно информационный характер