Оригинальные каталоги
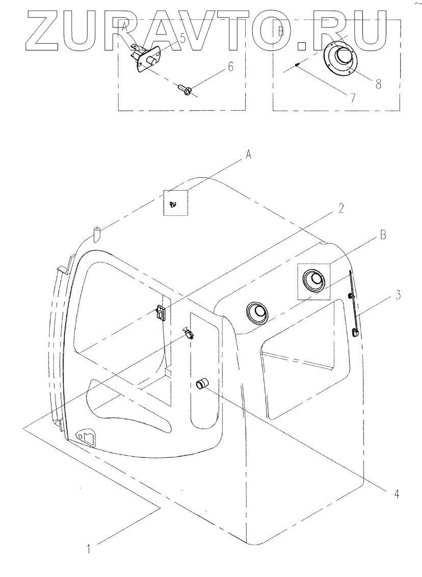
| № | Номер | Наименование | Цена | |
|---|---|---|---|---|
| 1 | 37B0056 | Прикуриватель | Нет в продаже |
|
| 2 | 32B0084 | Фара кабины | Нет в продаже |
|
| 3 | 37B0221 | Антенна | Нет в продаже |
|
| 4 | 35B0068 | Счетчик моточасов | Нет в продаже |
|
| 5 | 34B0134 | Выключатель | Нет в продаже |
|
| 6 | 04B0249 | Винт | Нет в продаже |
|
| 7 | 04B0281 | Винт | Нет в продаже |
|
| 8 | 38B0039 | Динамик | Нет в продаже |
|
1
2
3
4
5
6
7
8
Содержащиеся в справочниках-каталогах запасные части и детали носят исключительно информационный характер