Оригинальные каталоги
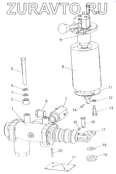
| № | Номер | Наименование | Цена | |
|---|---|---|---|---|
| 1 | 543-4222010-21 | Кран накачки шин | Нет в продаже |
|
| 2 | 7930-3122115 | Втулка | Нет в продаже |
|
| 3 | 252039 | Шайба 10 | Нет в продаже |
|
| 4 | 252136 | Шайба 10 ОТ | Нет в продаже |
|
| 5 | 200325 | Болт М10-6gх80 | Нет в продаже |
|
| 6 | 262544 | Пробка КГ 1/2" | Нет в продаже |
|
| 7 | 547А-8005230 | Клапан пылезащитный | Нет в продаже |
|
| 8 | 8021-3122113 | Втулка | Нет в продаже |
|
| 9 | 8021-3122110 | Привод управления краном | Нет в продаже |
|
| 10 | 221666 | Винт М8-6gх25 | Нет в продаже |
|
| 10 | 231666 | Винт 2М-6gх25 | Нет в продаже |
|
| 11 | 543-4222144 | Кольцо защитное | Нет в продаже |
|
| 12 | 252135 | Шайба 8Т | Нет в продаже |
|
| 13 | 200271 | Болт М8-6gх60 | Нет в продаже |
|
| 14 | 258039 | Шплинт 3,2х20 | Нет в продаже |
|
| 15 | 258038 | Шплинт 3,2х16 | Нет в продаже |
|
| 16 | 260057 | Палец 10х28 | Нет в продаже |
|
| 17 | 543-4222130-В | Рычаг | Нет в продаже |
|
| 18 | 252007 | Шайба 12 | Нет в продаже |
|
| 19 | 250977 | Гайка М12х1,25-5Н6Н | Нет в продаже |
|
| 20 | 240822 | Винт 4х25 | Нет в продаже |
|
| 21 | 8021-3903042-10 | Табличка | Нет в продаже |
|
1
2
3
4
5
6
7
8
9
10
10
11
12
13
14
15
16
17
18
19
20
21
Содержащиеся в справочниках-каталогах запасные части и детали носят исключительно информационный характер