Оригинальные каталоги
| № | Номер | Наименование | Цена | |
|---|---|---|---|---|
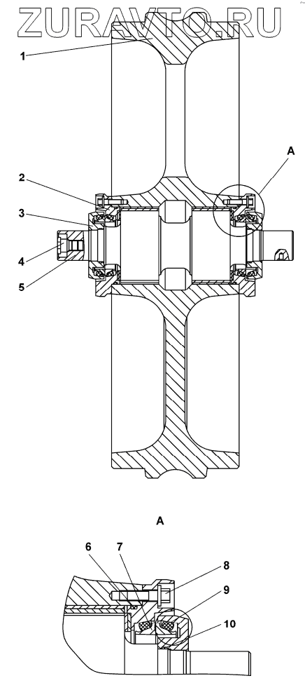
| 1 | 312002-21-31СП(SP) | Колесо натяжное | Нет в продаже |
|
| 1 | 312002-21-31-20СП | Колесо натяжное | Нет в продаже |
|
| 2 | 2001-21-75СП(SP) | Фланец | Нет в продаже |
|
| 3 | 2001-21-107 | Крышка | Нет в продаже |
|
| 4 | 375509 | Пробка | Нет в продаже |
|
| 4 | 375509-20 | Пробка | Нет в продаже |
|
| 5 | 2001-21-251 | Ось | Нет в продаже |
|
| 6 | Кольцо122-130-46-2-51-1668 | Кольцо 122-130-46-2-51-1668 | Нет в продаже |
|
| 7 | 2501-21-142 | Кольцо уплотнительное | Нет в продаже |
|
| 8 | 2501-21-411 | Болт | Нет в продаже |
|
| 9 | 400212 | Кольцо упругое | Нет в продаже |
|
| 10 | Кольцо066-071-30-2-51-1668 | Кольцо 066-071-30-2-51-1668 | Нет в продаже |
|
1
1
2
3
4
4
5
6
7
8
9
10
Содержащиеся в справочниках-каталогах запасные части и детали носят исключительно информационный характер