Назад

Оригинальные каталоги

zoom-in zoom-out enlarge shrink circle-right circle-left file-text2 info cart
Номер Наименование Цена
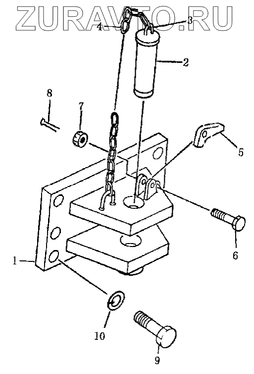
1 16Y-32-10000 Кронштейн сцепки Нет в продаже
2 09247-45180 Палец Нет в продаже
3 16Y-32-00001 Кольцо Нет в продаже
4 09245-04830 Цепь Нет в продаже
5 16Y-32-00002 Запор Нет в продаже
6 01052-31260 Болт Нет в продаже
7 01592-01215 Гайка Нет в продаже
8 04050-03025 Чека разводная Нет в продаже
9 01010-32465 Болт Нет в продаже
10 01602-02472 Шайба Нет в продаже
1
2
3
4
5
6
7
8
9
10
100%
Содержащиеся в справочниках-каталогах запасные части и детали носят исключительно информационный характер