Оригинальные каталоги
| № | Номер | Наименование | Цена | |
|---|---|---|---|---|
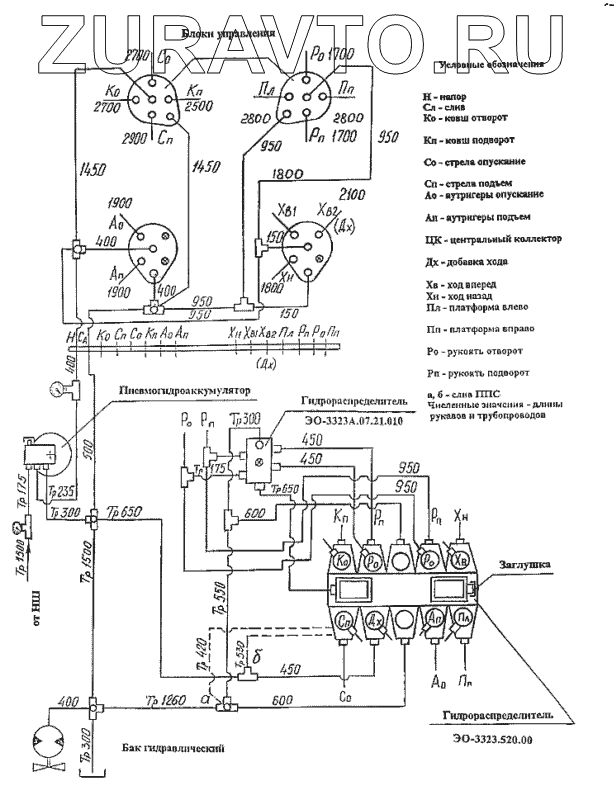
| ЭО-3323.520.00 | ЭО-3323.520.00 | Гидрораспределитель | Нет в продаже |
|
| ЭО-3323А.07.21.010 | ЭО-3323А.07.21.010 | Гидрораспределитель | Нет в продаже |
|
ЭО-3323.520.00
ЭО-3323А.07.21.010
Содержащиеся в справочниках-каталогах запасные части и детали носят исключительно информационный характер