Назад

Оригинальные каталоги

zoom-in zoom-out enlarge shrink circle-right circle-left file-text2 info cart
Номер Наименование Цена
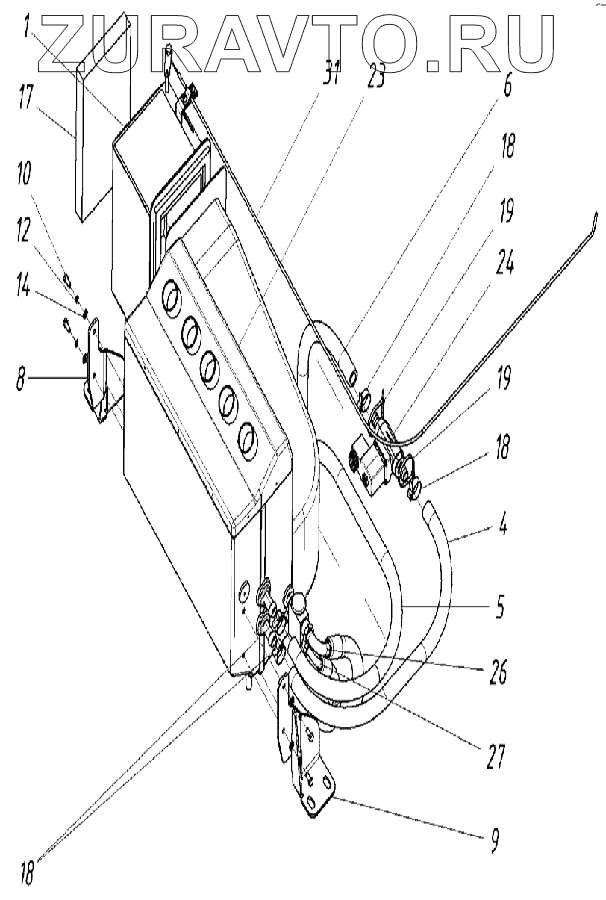
1 142622010000 Регулятор воздуха Нет в продаже
4 142622000100 Рукав Нет в продаже
5 142622000200 Рукав Нет в продаже
6 142622000300 Рукав Нет в продаже
8 20203030000100 Кронштейн Нет в продаже
9 20203030000101 Кронштейн Нет в продаже
10 2640000901 Болт М6-6gх14.58.016 Нет в продаже
12 2644020401 Шайба 6.65Г.016 Нет в продаже
14 2644060601 Шайба плоская Нет в продаже
17 91121497701 Фильтроэлемент салонный Нет в продаже
19 92382010501 Кабельный хомут Нет в продаже
23 Блок отопительный Отопительный блок Нет в продаже
24 Клапан Клапан Нет в продаже
26 Испаритель Хладопровод разъем-испаритель Нет в продаже
27 Разъем Штекерный разъем Нет в продаже
31 Трос Трос управления оборотами Нет в продаже
42 92381006901 Климатическая система комплект поставки Нет в продаже
1
4
5
6
8
9
10
12
14
17
19
19
23
24
26
27
31
100%
Содержащиеся в справочниках-каталогах запасные части и детали носят исключительно информационный характер