Назад

Оригинальные каталоги

zoom-in zoom-out enlarge shrink circle-right circle-left file-text2 info cart
Номер Наименование Цена
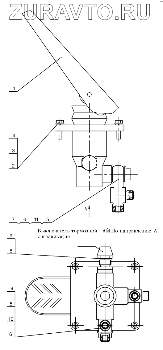
1 252605942 Маслопровод переднего мостика Нет в продаже
2 251800289 Соединение Нет в продаже
3 805301414 Шайба 22 Нет в продаже
4 803164156 О-образное кольцо 10.6x1.8 Нет в продаже
5 800901152 ФН в сборе Нет в продаже
6 805000715 Болт M12x25 Нет в продаже
7 805300018 Шайба 12 Нет в продаже
8 251800287 Прямое соединение Нет в продаже
9 803164132 О-образное кольцо 6x1.8 Нет в продаже
1
2
3
4
5
5
5
6
6
7
8
9
100%
Содержащиеся в справочниках-каталогах запасные части и детали носят исключительно информационный характер